Cómo el deep learning cambió la forma en que los buscadores entiende el contenido
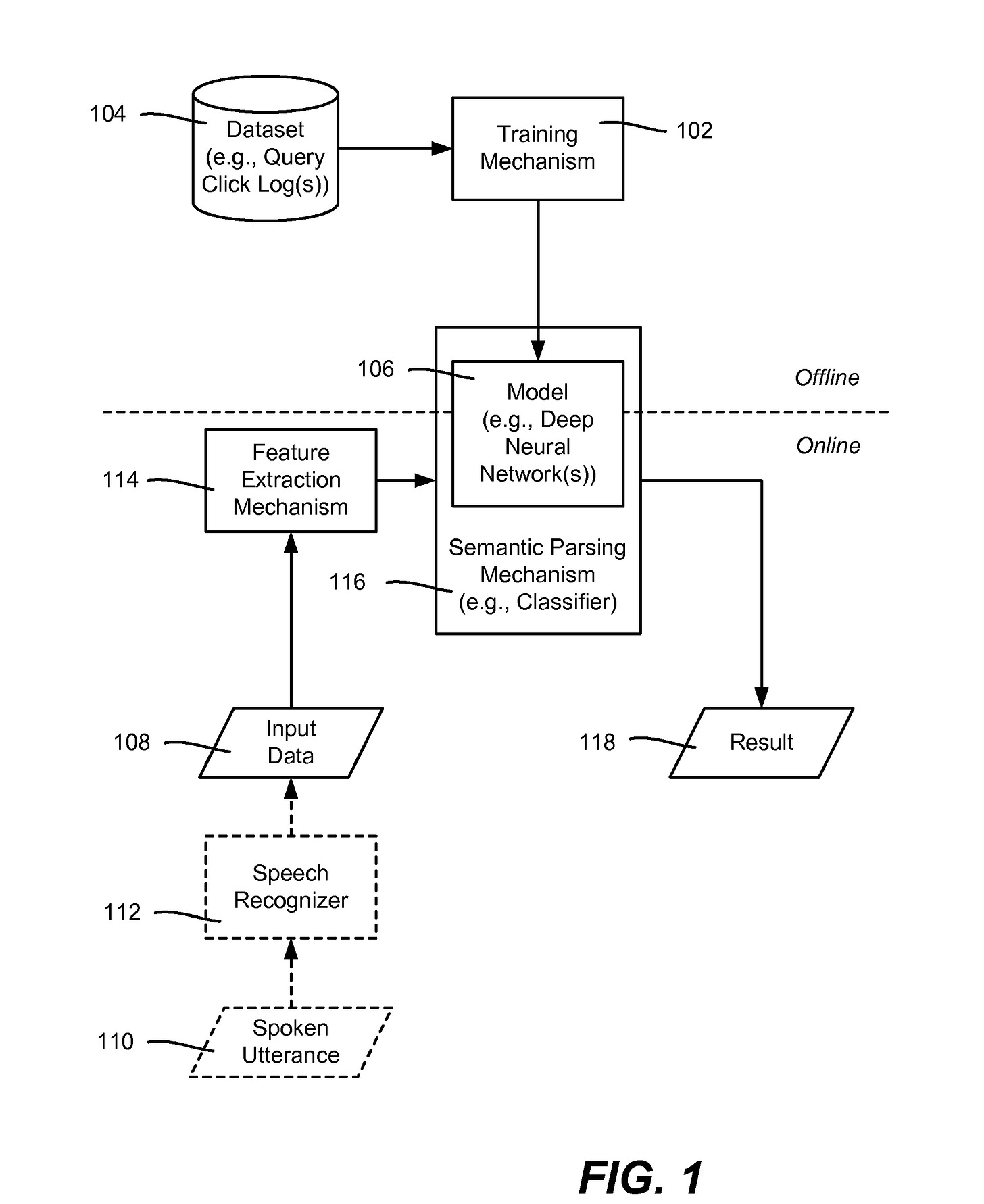
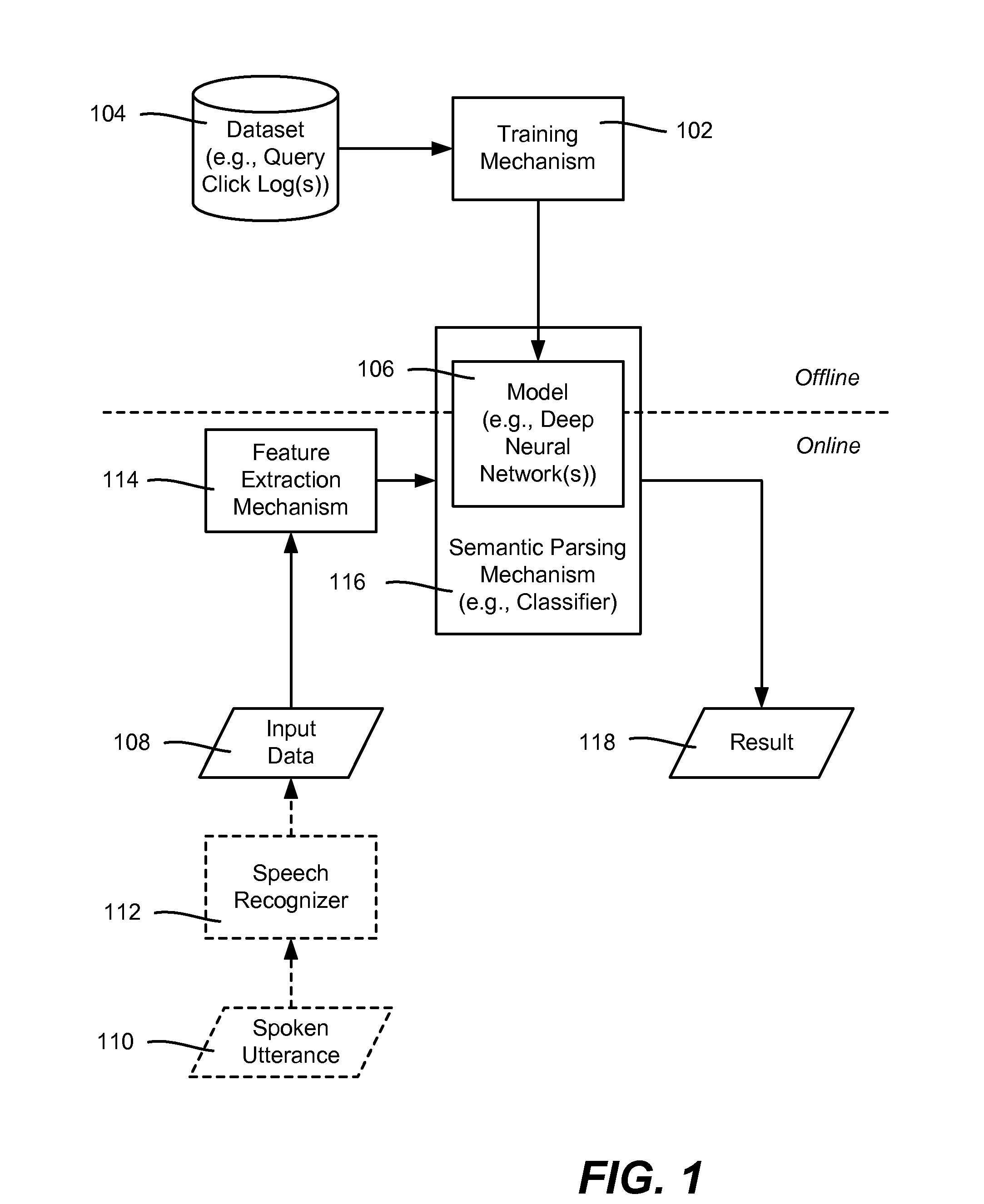
La patente US20150310862A1 describe un sistema de aprendizaje profundo diseñado para interpretar consultas y textos desde un punto de vista semántico, utilizando datos reales de uso y comportamiento.
¡Gracias por leer la newsletter de Linking and Growing! Damos la bienvenida a los nuevos suscriptores de la última semana, en total ya somos 2401 suscriptores en la newsletter de Linking & Growing!
Si deseas recibir cada semana información sobre SEO relacionada con linkbuilding, suscríbete a continuación.
Las patentes de Google no describen siempre algoritmos activos, pero sí revelan la dirección estratégica y tecnológica del buscador. La patente US20150310862A1, centrada en deep learning aplicado al entendimiento semántico del lenguaje, es una de las piezas clave para comprender por qué el SEO ha evolucionado desde la optimización por palabras clave hacia un modelo basado en intención, significado y contexto.
Este documento no habla explícitamente de rankings, backlinks o factores SEO tradicionales. Sin embargo, describe el tipo de sistemas que hoy permiten a Google interpretar consultas complejas, ambiguas o nunca vistas antes. Y eso afecta directamente a cómo se crea, estructura y optimiza el contenido web.
Qué describe exactamente la patente
Objetivo principal del sistema
La patente define un sistema que utiliza modelos de aprendizaje profundo para interpretar el significado de frases o consultas de usuarios, conocidas como utterances. El objetivo es clasificar semánticamente una consulta, no en función de las palabras exactas que contiene, sino de su significado subyacente.
En términos simples: el sistema intenta entender qué quiere el usuario, aunque lo exprese de formas distintas.
Uso de datos reales de usuarios
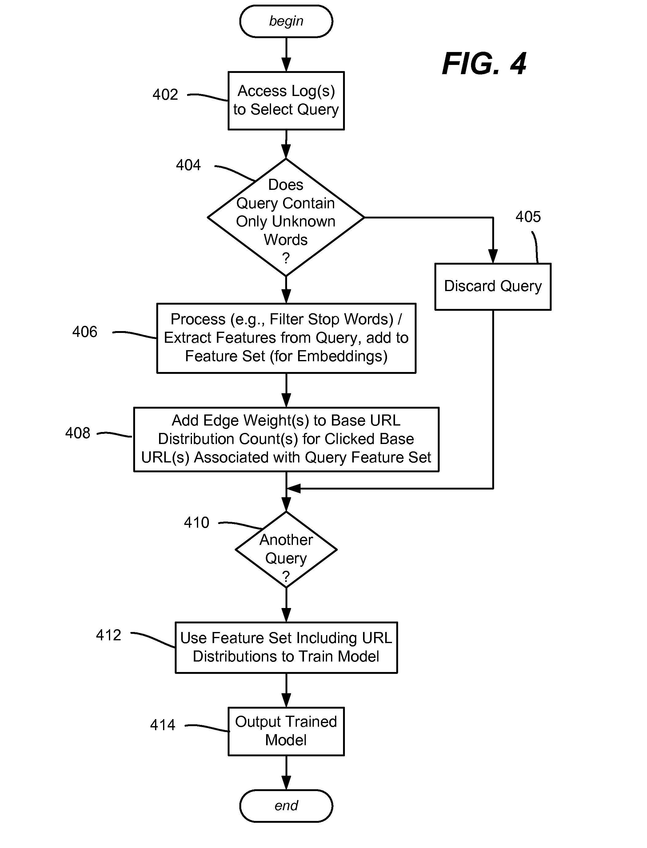
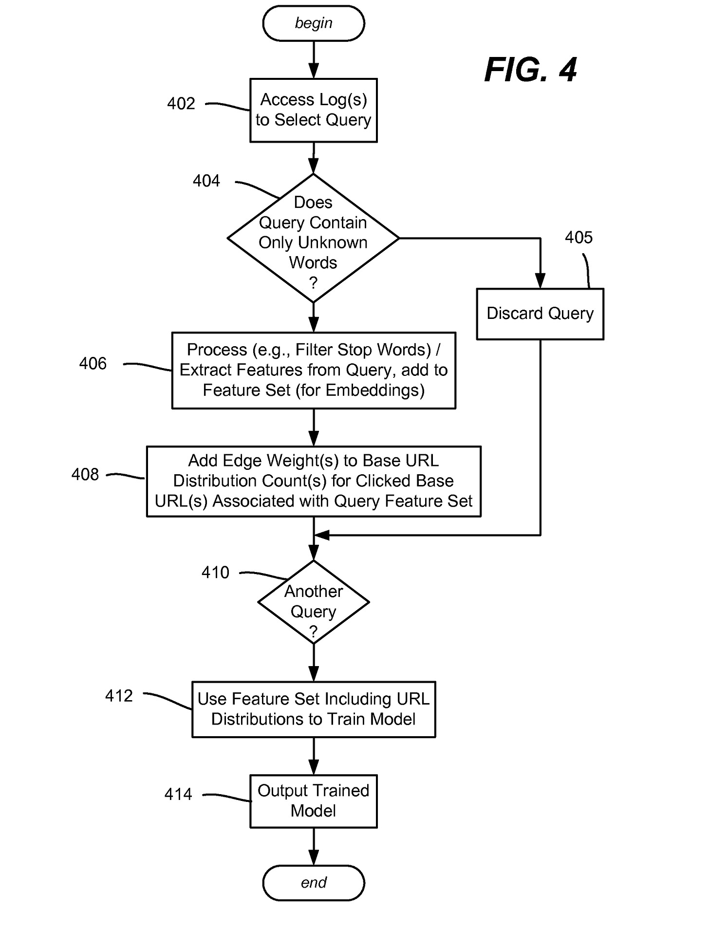
Uno de los puntos más relevantes es que el sistema se entrena a partir de logs de búsqueda y datos de clics reales. No depende únicamente de reglas predefinidas o etiquetas manuales, sino que aprende observando patrones de comportamiento:
Qué consulta hace el usuario
En qué resultados hace clic
Qué tipo de resultados parecen satisfacer mejor esa consulta
Esto permite que el modelo aprenda relaciones semánticas reales, basadas en el uso humano del lenguaje.
Representaciones vectoriales del lenguaje
La patente describe la creación de embeddings semánticos, es decir, representaciones matemáticas del significado de consultas y textos. Estas representaciones permiten:
Comparar consultas entre sí aunque no compartan palabras
Relacionar consultas con documentos relevantes
Generalizar significado a consultas nunca vistas antes
Este enfoque es la base de los sistemas modernos de comprensión del lenguaje en buscadores.
Relación directa con el SEO actual
De palabras clave a intención de búsqueda
Antes, el SEO se basaba en coincidir términos exactos entre la consulta y la página. Con sistemas como el descrito en esta patente, Google puede detectar que distintas consultas expresan la misma intención, aunque usen vocabulario diferente.
Esto implica que:
Dos búsquedas distintas pueden activar los mismos resultados
Una página puede posicionar sin contener exactamente la keyword principal
El motor evalúa si el contenido satisface la intención, no si repite palabras
La optimización literal deja paso a la optimización semántica.
Comprensión contextual del contenido
El modelo descrito no analiza palabras de forma aislada, sino dentro de su contexto. Esto explica por qué Google es cada vez mejor interpretando:
Sinónimos
Reformulaciones
Lenguaje natural
Consultas largas o conversacionales
Sistemas como Google RankBrain o BERT no surgen de la nada: esta patente forma parte del mismo enfoque tecnológico.
Implicaciones prácticas para estrategias SEO
El contenido superficial pierde ventaja competitiva
Si el algoritmo entiende significado e intención, el contenido que no cubre bien un tema queda expuesto. Ya no basta con textos largos o con alta densidad de keywords.
Un contenido fuerte hoy debe:
Cubrir el tema de forma integral
Responder a preguntas implícitas del usuario
Anticipar necesidades informativas relacionadas
El SEO pasa de “optimizar textos” a construir respuestas completas.
Importancia de la arquitectura semántica
El modelo descrito favorece contenidos bien estructurados conceptualmente. No se trata solo de H1, H2 y H3 por SEO técnico, sino de reflejar una jerarquía lógica del conocimiento.
Buenas prácticas alineadas con esta patente:
Un tema principal bien definido
Subtemas relacionados y coherentes
Uso natural de entidades, conceptos y relaciones
Contenido que fluye como una explicación humana
Menor dependencia de coincidencias exactas
El sistema puede relacionar consultas y documentos aunque no compartan términos exactos. Esto reduce el valor de tácticas como:
Keyword stuffing
Variantes forzadas
Textos artificialmente optimizados
Y aumenta el valor de:
Lenguaje natural
Claridad semántica
Profundidad temática
Impacto en el análisis de keywords
De listas de keywords a clusters de intención
La patente refuerza un cambio clave en SEO: ya no se optimiza una URL para una keyword, sino para un conjunto de intenciones semánticamente relacionadas.
Esto implica trabajar con:
Clusters temáticos
Mapas de intención
Relaciones entre consultas informativas, transaccionales y navegacionales
El keyword research tradicional se queda corto si no se acompaña de análisis semántico.
Mejora del posicionamiento long tail
Los modelos descritos permiten a Google entender consultas largas, específicas y poco frecuentes. Por eso cada vez es más común que:
Páginas bien trabajadas posicionen para cientos o miles de búsquedas long tail
El tráfico no provenga solo de keywords principales
El contenido evergreen gane peso frente a páginas ultraoptimizadas
Qué prácticas SEO quedan obsoletas según esta lógica
A la luz de esta patente, pierden efectividad:
Optimizar solo para coincidencia exacta
Crear una URL por variación mínima de keyword
Ignorar sinónimos y lenguaje natural
Escribir para el algoritmo en lugar de para el usuario
El sistema está diseñado precisamente para superar esas limitaciones.
Relación con la evolución histórica del algoritmo de Google
Esta patente encaja perfectamente con la evolución que Google ha seguido en la última década:
Introducción de RankBrain para interpretar consultas desconocidas
Uso de modelos de lenguaje contextual como BERT
Mayor peso del comportamiento del usuario en la evaluación de resultados
Foco creciente en satisfacción y utilidad real
No es una patente aislada, sino parte de un ecosistema tecnológico coherente.
La patente US20150310862A1 confirma algo que en SEO ya es evidente en la práctica: Google intenta entender el significado, no las palabras.
El buscador evoluciona hacia sistemas que:
Interpretan intención
Analizan contexto
Aprenden del comportamiento real de los usuarios
Generalizan significado más allá de expresiones concretas
Para el SEO, esto implica un cambio definitivo de mentalidad. Optimizar ya no es manipular señales aisladas, sino alinear contenido, estructura y mensaje con lo que el usuario realmente busca.
El SEO técnico sigue siendo necesario, pero el verdadero diferencial competitivo está en la calidad semántica del contenido y en su capacidad para resolver una necesidad informativa de forma clara, completa y útil.
Espera, todavía no te vayas, te voy a dejar por aquí 3 formas en las que te puedo ayudar
🔍 ¿Sientes que estás generando contenido pero Google no lo recompensa? Quizá es hora de revisar tu sitio Web a fondo
➡️ Descubre cómo una Auditoría SEO puede cambiar esto
🚀 ¿Tu web crece... pero demasiado lento para los objetivos que tienes definido en tu negocio? Acelera tu posicionamiento con una estrategia personalizada
➡️ Te cuento cómo es el trabajo de SEO Growth Partner.
¿Quieres que tu proyecto crezca más rápido en la era de la IA? Como Consultor SEO te acompaño a construir una estrategia que realmente mueva la aguja
➡️ Quiero mover la aguja de mi proyecto con un Consultor SEO profesional
🎯 ¿Te gustaría aprender a realizar auditorías SEO profesionales y automatizaciones de flujos de trabajo cada semana?
➡️ Reserva una reunión 1:1 conmigo: Mentoría SEO




